
Witam
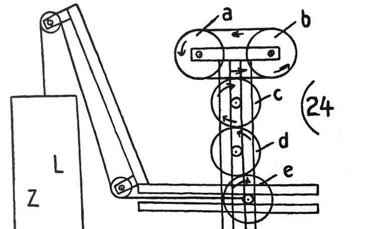
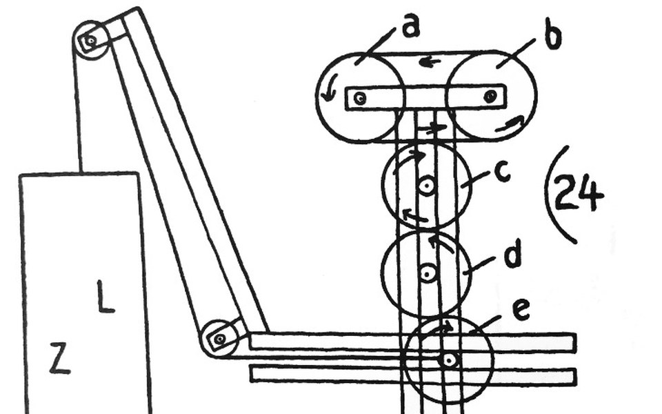
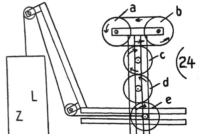
Mam 41 l i od 7 lat opiekuje się niepełnosprawnym dzieckiem, co spowodowało że człowiek szuka oszczędności na każdym kroku. I tak zacząłem zastanawiać się nad zmniejszeniem rachunków za prąd i eksperymentowaniem z różnymi materiałami i gadżetami istniejącymi oraz informacjami na różnych forach. I tak od ogniw fotowoltaicznych, przez różnego rodzaje silniki Stirlinga czy ogniwo paliwowe i jeszcze innych różnych mniej lub bardziej znanych pomysłów. Udało mi się stworzyć po 5 latach prac urządzenie w miarę nie duże 50x50x40 cm, które po 30 min wzbudzeniu ze źródła zewnętrznego weszło w tak zwany stan „Perpetuum mobil” i przez okres 29 dni pracowało bez przerwy wytwarzając energie elektryczną prądu stałego o wartości 12v i 1,5 A (co daje 18W). Przez okres 29 dni był podłączony do tego urządzenia 1 m paska LED o mocy 14,4 W, który przez ten cały okres świecił non stop stabilnie. Po 29 dniach elementy użyte w moim urządzeniu zużyły się całkowicie ale i tak uważam że uzyskany wynik jest bardzo przyzwoity. Po przeanalizowaniu całości i obliczeniach uważam że jestem w stanie zbudować urządzenie o większej mocy ok 350-400 W. Takiej mocy urządzenia mogły by śmiało wykorzystywane w autach elektrycznych zamiast akumulatorów. Wyobraźcie sobie jazdę takim autem przez miesiąc bez tankowania. Cała branża transportowa czy handlowa, miała by duże oszczędności a tym samym całe środowisko. Już nie wspomnę o bezpieczeństwie, gdzie w razie wypadku moje urządzenie nie generuje żadnych niebezpiecznych gazów a i przy użyciu nie wielkiej elektroniki może zostać szybko wyłączone co nie grozi porażeniem przy gaszeniu, jak obecnie dziś akumulatory.
Niestety żeby zbudować prototyp i udokumentować całość potrzebuje środków finansowych. Jeżeli ktoś chciał by pomóc to zapraszam dzięki waszej pomocy będę mógł szybciej zrobić większej mocy urządzenie. W innym przypadku tez stworzę ale zajmie mi to więcej czasu gdyż nie mogę w mojej stacji wyłożyć takiej sumy jednorazowo i pewnie zajmie mi to klika lat.


Gdy świat się wali, dajemy nadzieję ❤️ Wspieramy chorych w pozyskaniu środków na leczenie, pomagamy zwierzętom i reagujemy natychmiast w pilnych sytuacjach kryzysowych 🚨
Jak odmienić los tysięcy potrzebujących za darmo?
✅ Wybierz Fundacja Pomagam.pl na liście OPP w rozliczeniu PIT.
✅ Wpisz nasz numer KRS 00 00 353 888 w deklaracji PIT.
Dla Ciebie to rubryka. Dla nich szansa, by przetrwać najgorsze.